itg外汇3月22日晚间11点3月22日晚间,深交所官网披露,定夺对子纲光电保荐人中信证券启动现场督导。
据业内人士先容,这类针对保荐机构启动的现场督导,通过率往往唯有5%~10%。
过去几年,中信证券连续依旧着A股投行“一哥”的名望,且市占率光鲜领先。而数据显示,本年今后,中信证券IPO过会数目、承销周围和承销保荐费收入,同比均产生大幅低沉,个中年内IPO承销保荐费收入同比大幅下滑79.5%。与此同时,本年今后,中信证券IPO撤回数目同比增进超100%。
3月22日晚间11点,深交地点其官方微信大众号上颁发音问,拟对子纲光电保荐人中信证券启动现场督导。
据懂得,来往所对保荐机构启动现场督导为IPO现场搜检的4品种型之一。而现场督导源自2019年注册造下来往所对IPO审核的必要,旨正在压苛压实中介机构义务,核查实质主如果通过中介机构核查发行人。
据某业人士近期先容,这类针对保荐机构启动的现场督导的通过率往往唯有5%~10%,通过率或低于随机抽查的IPO现场搜检。本年1月初,中邦证券业协会官网颁发《闭于2024年第一批首发申请企业现场搜检抽查名单的通告》,恒达智控、城筑打算两家企业被抽中现场搜检。个中,城筑打算的保荐机构同为中信证券。

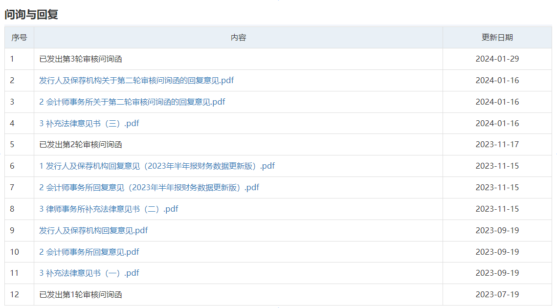
详细而言,深交所网站显示,旧年6月底,中信证券保荐的联纲光电创业板IPO申请获取来往所受理。截至目前,深交所依然发送了三轮问询函,这些问询函央浼联纲光电及中介机构就公司管造有用性、财政内控标准性、音讯披露实正在凿凿完好性等事项实行核查证明。
而近期,第二轮问询中的局部复兴实质受到了墟市的普及体贴。深交所指出,联纲光电及中介机构近期提交了问询复兴,但复兴实质不敷清楚,所涉题目仍未能予以充斥证明。
依据披露,深交地点第二轮问询中体贴到了发行人是否保存污染观点“蹭热门”、“扩充宣称”等景况。对这些题目,发行人和保荐机构中信证券正在复兴中均外现不保存。其余,深交所还体贴了联纲光电实质独揽人持股比例较高的题目,央浼发行人正在招股仿单危机提示中填充发行人实质独揽人家族独揽比例为98%及闭系危机。本年1月底,深交所依然向联纲光电发出了第三轮问询函。
2022年,中信证券的IPO承销周围曾横跨高盛、摩根士丹利,位居环球第一。
只是本年,中信证券IPO承销保荐生意的局势可谓开局晦气。据Choice数据统计,本年今后,中信证券IPO过会数目、承销周围同比产生大幅低沉。
截至目前,中信证券年内IPO过会数目仅为2家,低于旧年同期的13家;其余,本年今后,中信证券IPO发行数目仅为4家,承销金额达33亿元,而旧年同期公司IPO发行数目为8家,承销金额达98.9亿元。

相应的是,据Choice数据统计,本年今后,中信证券IPO承销保荐费收入达1.79亿元,同比大幅下滑79.5%,比2022年同期下滑了78.6%。这导致了中信证券之前较为巩固的投行“一哥”名望首先不保,IPO承销保荐费行业排名也从原本的第1位下滑至第2位,且差异与之后的几位显得并不大。
与此同时,中信证券IPO撤回数目也产生大幅增进。截至目前,本年今后,中信证券IPO项目主动撤回数目依然到达了7个,撤否率到达了22%。这7个项目大众是旧年受理的项目,个中众个项目从受理到撤回不敷一年。
旧年同期,中信证券IPO主动撤回量唯有3个,撤回率仅为3.9%。2022年一季度和2023年一季度,中信证券IPO撤回量都低于本年。
其余值得体贴的是,本年今后,中信证券投行生意还面对较大的囚禁危机。中邦证监会网站1月12日更新披露音讯显示,证监会对中信证券选取出具警示函手段。证监会指出,经查,浮现中信证券保荐的恒逸石化可转债项目,发行人证券发行上市当年即亏折、买卖利润比上年下滑50%以上。同日,中信证券两名保代毛宗玄、朱玮也被证监会选取囚禁叙话的行政囚禁手段。








相关资讯: